如何实现读写分离
一主多从,主提供写,从提供读。
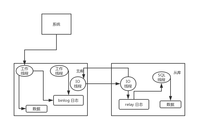
原理
主库将变更写入 binlog 日志,然后从库连接到主库之后, 从库有一个 IO 线程,将主库的 binlog 日志拷贝到自己本地, 写入一个 relay 中继日志中。 接着从库中有一个 SQL 线程会从中继日志读取 binlog,然后执行 binlog 日志中的内容, 也就是在自己本地再次执行一遍 SQL,这样就可以保证自己跟主库的数据是一样的。

由于从库从主库拷贝日志以及串行执行 SQL 的特点, 在高并发场景下,从库的数据一定会比主库慢一些,是有延时的。 所以经常出现,刚写入主库的数据可能是读不到的,要过几十毫秒,甚至几百毫秒才能读取到。
同时也会面临数据丢失的问题,主库宕机,而从库还未同步。 所以 MySQL 实际上在这一块有两个机制, 一个是半同步复制,用来解决主库数据丢失问题;一个是并行复制,用来解决主从同步延时问题。
这个所谓半同步复制,也叫 semi-sync 复制, 指的就是主库写入 binlog 日志之后,就会将强制此时立即将数据同步到从库, 从库将日志写入自己本地的 relay log 之后,接着会返回一个 ack 给主库, 主库接收到至少一个从库的 ack 之后才会认为写操作完成了。
所谓并行复制,指的是从库开启多个线程,并行读取 relay log 中不同库的日志, 然后并行重放不同库的日志,这是库级别的并行。
主从同步延时问题
可能会有这样的场景,插入之后就要更新,在非主从同步的架构上,可以在插入之后,然后查询,接着再去更新, 但是主从同步延时,导致插入之后,查询为空,那么更新就会失败。 所以在这种场景下,插入成功,无需再去查询,直接更新就可以避免延时问题了。